地下室结构形式选型分析!
——文|汪怡婷,博牛结构优化工程师
一、 前言
在住宅开发项目中地下室建设成本比重通常很大,且地下室顶板面积以及所受荷载均较大,顶板楼盖体系的结构选型将对结构性能和建设成本产生重大影响。
地下室主网结构主要分为大柱网、大小柱网、小柱网三种形式;顶板布置形式分为无梁楼盖和有梁楼盖,其中有梁楼盖又分为无次梁和有次梁形式。
二、 常见柱网形式
按以往一般项目经验,大柱网成本造价高于大小柱网以及小柱网,后两者也是现阶段项目中主要采用的柱网形式。
我司早在2017年就已经对“大柱网”地库的结构形式进行了分析比选,详见《大柱网地库顶板结构形式方案优选》(https://mp.weixin.qq.com/s/Z1s2uoJ8eNwAZn9b4WFijA(设置成超链接点击))。
现根据已有工程项目经验对“小柱网”及“大小柱网”地库顶板进行实测分析。
三、 地库顶板的工程实例
现选取以下四个项目进行对比:
案例一:杭州临安某项目
工程概况:地下室层数1层,结构层高3.6m,顶板覆土1.0m,标准柱跨(小柱网):5.3m×5.3m,顶板采用大板形式,如下图:
案例二:嘉兴南浔某项目
工程概况:地下室层数1层,结构层高3.72m,顶板覆土1.0m,标准柱跨(大小柱网):5.56m×7.7m,顶板采用大板形式,如下图:
案例三:宁波鄞州某项目
工程概况:地下室层数1层,结构层高3.2m,顶板覆土1.0m,标准柱跨(大小柱网):5.25m×7.8m,顶板采用无梁楼盖形式,如下图:
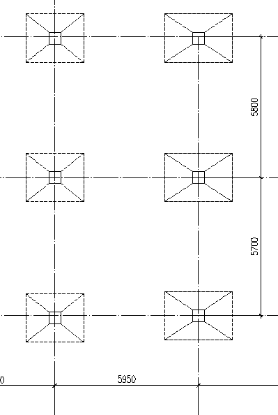
案例四:温州某项目
工程概况:地下室层数1层,结构层高3.5m,顶板覆土1.0m,标准柱跨:5.95m×5.8m,顶板采用无梁楼盖形式,如下图:
注:混凝土用C30,普通钢筋取5000元/吨,混凝土取600元/m³,混凝土模板综合费考虑为45元/m2。
四、 分析评价
经济性分析
对于地库顶板,无梁楼盖造价成本低于大板结构,而“小柱网”的造价成本低于“大小柱网”。
不仅仅是顶板,柱跨小减小底板基础厚度。小柱网地下室梁高低可减小层高,进一步可节约基坑围护费用,并缩短施工周期。
施工现场分析
近来无梁楼盖事故频发的主要原因:
1.顶板超载,甚至严重超载;
2.施工管理混乱;
3.无梁楼盖抗冲切承载力不足。
由此可见,无梁楼盖对于荷载的控制要求非常严格。
设计计算分析
无梁楼盖结构的传力途径简洁直接,但其抗垮塌冗余度没有普通梁板结构大,延性稍差,破坏经常是突发性的。
《抗规》6.1.14中也明确指出:地下室在地上结构相关范围的顶板应采用现浇梁板结构,相关范围以外的地下室顶板宜采用现浇梁板结构。
五、 结束语
对于地库顶板,“小柱网”较“大小柱网”更经济,无梁楼盖较大板更经济。但是无梁楼盖结构对建设单、设计和施工三方均提出了较高的管理要求。而在整个漫长的项目建设周期中,难免出现设计与施工条件微调以及管理不到位的情况,综上,我司建议优先采用“小柱网”大板结构。






浙公网安备 33010602012062号